• 您所在的位置:
  • 网站首页
  • >
  • 要闻
  • >
  • 总局
  • 市场监管总局(国家标准委)发布2026年第1号国家标准公告

    发布:中国标准化
    发布时间:2026-01-14

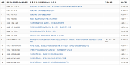
    国家市场监督管理总局(国家标准化管理委员会)发布《关于批准发布〈光伏组件加强应力试验第1部分:组件〉等14项国家标准化指导性技术文件的公告》。具体内容如下:

    20260114112

    14项国家标准化指导性技术文件

    20260114113

    附件

    关于批准发布《光伏组件加强应力试验第1部分:组件》等14项国家标准化指导性技术文件的公告


    编辑: 审核: